用于控制真空处理工艺中吸气和释放的电磁阀
用于结合中心化真空产生装置开关高流量的大型连接器
通过 24V-DC 信号驱动,便于集成
用于切换吸入和排出的脉冲控制电磁阀即使在电源断电的情况下也能提高工艺可靠性
设计
设计

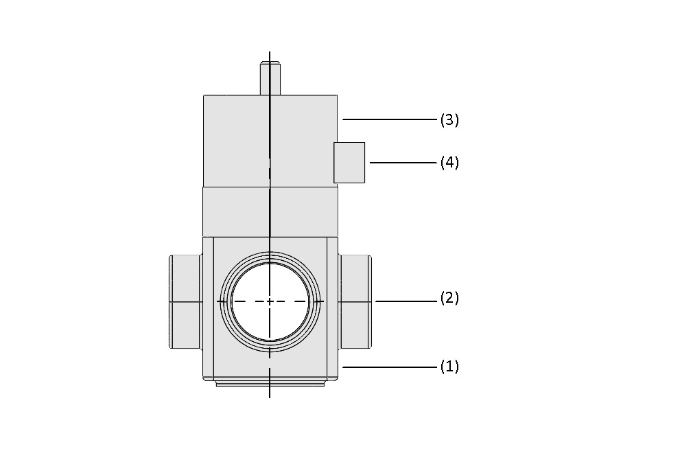
- 金属主体 (1)
- 电磁线圈 (2)
- 控制阀 (3)
- 用于吸盘和鼓风机的连接器 (4)
技术参数
技术参数
- 连接器:G2"
- 电流类型:24V-DC
- 金属主体
结果 1至 1 个 1 项目
用于控制真空处理工艺中吸气和释放的电磁阀
用于结合中心化真空产生装置开关高流量的大型连接器
通过 24V-DC 信号驱动,便于集成
用于切换吸入和排出的脉冲控制电磁阀即使在电源断电的情况下也能提高工艺可靠性
